1.5 云平台使用指南
写在前面
目前相干光量子计算云平台提供两种算力服务方式:一种是Quota模式(量子任务模式),Quota模式会自动平衡计算效率与结果质量,适合大多数业务场景。另一种是量子采样(Sample)模式,适用于海量解空间的长期采样任务(如玻尔兹曼分布采样、模型训练),但不保证计算结果质量(与动态调参的Quota模式相比)。
(1)具体使用区别请参考该链接。
(2)CPQC-X服务申请请详见该文档最后一条。
(一)登录
1、浏览器中输入相干光量子计算云平台的网址进入至登录界面:https://platform.qboson.com/
2、在登录界面中可选择【微信登录】、【短信登录/注册】、【账号登录】和【CARSI】四种方式,成功后跳转至控制台页面:
a)当海外用户切换至英文界面时,仅显示两种登录方式:【邮箱&密码】和【验证码】;
b)首次登录的用户推荐使用【微信登录】、【短信登录/注册】方式,且首次登录后会默认注册账号;
c)提示:完善个人信息可以获取一定的计算配额。

(二)控制台
1、【算力服务】看板
展示设备的名称(CPQC-1000、CPQC-550、CPQC-1)、CPQC-X服务、设备描述、可用状态(可用/不可用)、配额和配额到期时间。
2、【用量总览】看板
用户可点击【周】【月】切换看板,可对应时间段内的任务数及任务平均运行时间。
3、【公告】看板
用户可在公告栏处查看平台最新动态。

(三)任务提交
1、点击【新建任务】可以创建真机任务。

2、点击【新建任务】后跳转至提交任务页面,该页面可输入任务名称及选择QUBO/Ising矩阵类型:
a)提交任务流程页面新增【矩阵类型】选项,分为【QUBO】和【Ising】;
- 提示文案:选定一种矩阵类型后,只能提交该类型的矩阵;切换矩阵类型会清空已上传的数据。
b)任务名称由大小写字母、数字和特殊符号组成,长度限制为5-24个字符;
- 仅使用特殊符号无法通过校验。
c)任务名不可重复,否则无法提交任务;
d)用户配额充足的情况下单次最多可提交20个符合8精度的矩阵;
e)用户配额不足20的话,则上限变成配额数;
f)CPQC-1000、CPQC-550、CPQC-1三种机器均有对应的配额,大比特机器可向下兼容计算小比特任务;
g)上传失败的任务不消耗配额;
h)文件状态中会提示上传失败的原因(文件格式错误、非标准QUBO矩阵文件、数据非方阵、数据比特数超过1000规模、数据精度超过8bit-INT空间[-128, 127]、上传超时,请重试)。
3、用户需二次确认提交真机任务的配置(任务名、数据、消耗配额)。
注意:确认提交后不可终止计算任务。
a)用户选择批量提交任务后,则上一步中输入的任务名称会在本页面中做自增,避免多次输入任务名称;

b)用户想修改自增任务名称时,点击对应数据的任务名称即可修改;

4、确认提交任务后进入成功提醒界面,可返回控制台等待任务计算结果。

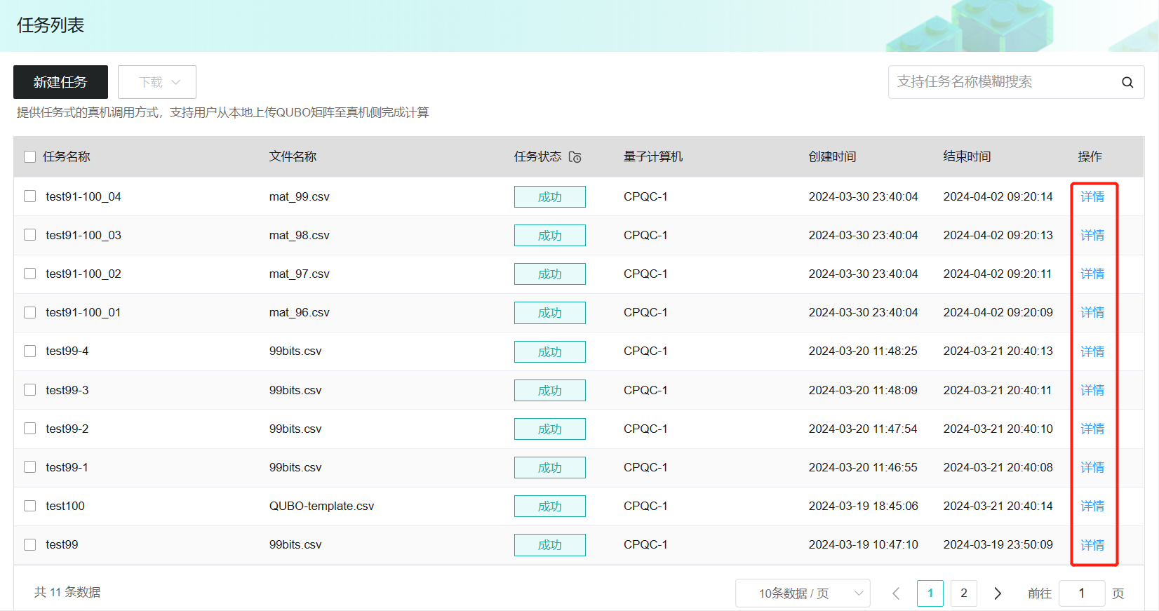
(四)任务管理
1、任务列表中展示任务名称、数据文件名称、任务状态(成功、失败、排队中)、量子计算机(CPQC-1000、CPQC-550、CPQC-1)、矩阵类型(QUBO、Ising)、创建时间、结束时间和操作。

2、任务列表右侧的搜索框可支持用户对任务名称进行模糊搜索。

3、点击任务名称前的复选框,即可使用下载功能,下载功能分为“下载报告”和“下载结果”:
a)“下载报告”是pdf格式的综合报告,包含全部任务概览、任务输入、任务输出;
b)“下载结果”是txt格式的文件,仅包含任务的QUBO Value/Hamiltonian、结果解向量;
c)单次“批量下载”功能最多可下载100条任务数据;

4、通过点击任务列表操作中的【详情】按钮可以查看对应的任务详情。

5、任务详情中展示任务概览、任务输入、任务结果三个模块:
a)任务概览中展示任务名称/ID、数据文件名称、矩阵类型、任务状态、创建时间、量子计算机;
b)任务输入中展示的是 QUBO/Ising 矩阵详情和可视化图形,点击查看显示对应的数据详情;
c)任务结果展示的是当前任务状态描述、任务结束时间、最优解单次采样时长、输出解向量和QUBO Value/Hamiltonian图形。
注:任务结果中【下载】按钮可下载txt文件的任务结果或pdf格式的结果报告。

(五)重要:CPQC-X服务申请
CPQC-X是实验中超过1000计算量子比特规模的系统,有战略性合作且有深度量子行业经验的客户可以通过【项目申请】开通限时的计算服务。
注意:此计算服务不承诺结果和返回时间。
以下为CPQC-X服务的注意事项:
CPQC-X服务申请前提是需要在云平台提交10个以上的标准任务,包含CPQC-1000、CPQC-550、CPQC-1;
CPQC-X服务属于单独的计费模式,可允许用户提交超过8位比特精度的矩阵,最高14位比特精度,即【-8192, 8191】之间,因此配额不与CPQC-1000、CPQC-550、CPQC-1等常规配额混用;
CPQC-X服务配额默认有效期为半年。
1、服务申请入口在控制台算力服务处点击【CQPC-X】的tab后再点击【项目管理】按钮。

2、进入CPQC-X模块页面后点击【项目申请】按钮,跳转至项目申请列表。

3、【项目申请】列表需要您填写相关给项目信息,例如项目背景、项目阶段、建模思路和配额数量等,以便于我们评估您的项目状况和资源支持。提交完成后会进入审核阶段,审核通过会发放对应的计算资源。
a)审核流程可能需要等待3-5个工作日;
b)如果您提交的项目信息不清晰或内容不符合实际会出现项目审核不通过或提前结项等情况。

4、通过项目申请后请在【非标任务列表】创建您的X任务。

